SERIES #41276
- Gate Valve
- 200 PSI
- 316
- NPT/ SW
- Size 1/2" to 2"
- Temp -20° to 350° F
Materials & Measurements
SERIES #41276
Features & Benefits
Investment Casting
Screwed-in Cap
Rising Stem
Solid Wedge Disc
Hand Wheel Operation
Threaded Ends Conform to ASME BI.20.1 (NPT)
200 W.O.G.
Max Working Temperature: 350ºF
Test and Inspection to API 598
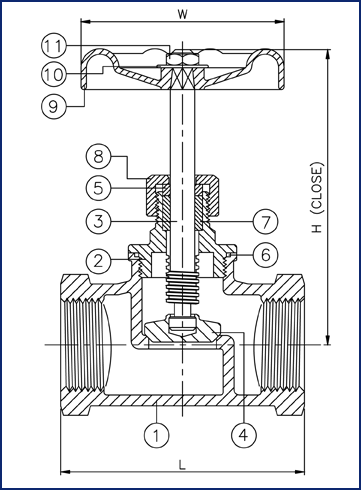
Schematic Diagram
Materials & Measurements
